sales@ipc2u.ru
+7 (495) 642-82-44
+7 (495) 232-02-07
8 800 777-02-07
Оборудование для автоматизации
Решения
Поддержка и сервис
Новости
Статьи и обзоры
О компании
Оставить заявку
Решения
Поддержка и сервис
Новости
Статьи и обзоры
О компании
sales@ipc2u.ru
+7 (495) 642-82-44
+7 (495) 232-02-07
8 800 777-02-07
Главная
Каталог
Оборудование для АСУ ТП
Нормирующие преобразователи сигналов
Модули согласования дискретных сигналов
Модули согласования дискретных сигналов
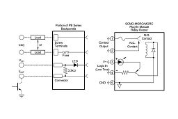
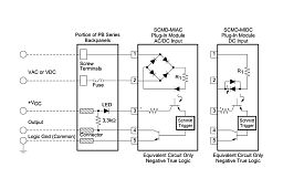
Модули гальванической изоляции цифровых (дискретных) сигналов для защиты цепей управления
Фильтр